说明
我们要求每一行代码都以Gitlab Merge Request的形式合并提交,通过Merge Request的形式合并的代码不会直接提交到开发分支,需要由该工程的Maintainer或Owner在线检查代码后确认合并才算完成,这种方式就是一套标准的代码Review。
根据过去数年的经验,代码Review的价值是非常高的,一个开发不可能掌握所有技能,也不可能所有更改都考虑全面,通过同行评审能从另一个角度发现代码中潜在的问题。
Gitlab是一个独立系统,代码合并人不可能随时在线关注合并请求,为了让合并人及时处理,我们在Gitlab上挂载了一个监控微服务,将每一例合并请求都发送到协同系统中,让Maintainer能及时收到合并消息并立即处理。
同时V5基于Flink自研了一套灵活的CICD编译构建流程:在接收到Git合并请求后会进行代码编译、Sonar静态代码检查、启动有效性测试,任何一个环节异常都不会将编译结果同步到构建包,保障我们的代码稳定有效。
本章介绍整个合并流程规范,请开发按照规范执行。
======================================================================
提交规范
提交人要求设置为姓名,不使用git账号,方便排查日志能快速定位到修改人员。
设置方式:

需要多个的,可以这样配置:

代码合并流程图
如下是完整的代码合并流程图,供大家总体查阅整个体系结构:

======================================================================
代码修改人操作规范
代码修改人需要通过[创建私人分支->私人分支修改代码->push代码到私人分支->合并请求到开发分支]这几个步骤完成代码的修改和合并请求,详细操作如下。
1)首先要确认自己本次代码合并的目标分支是哪一条,以V8.1为例,V8.1的开发分支为:standard-V8.1-develop
如果自己不清楚代码合并到什么分支,一定要找指导人确认
2)选择新建分支:通过Gitlab在线新建分支,如下图所示(开发也可以通过自己的IDE开发工具新建分支)
注:只有Developer及更高级别角色才能新建分支,如果你无法操作则可能是Reporter(考虑申请更高权限或将代码传送给指导人提交)

3)基于源开发分支Create私人分支:Branch name对应私人分支名,Create from表示复制自哪个源分支。
我们要求Branch name私人分支名格式为:BUG号_个人姓名。
如修改JIRA BUG则命名为:V5-9724_zhangsan(V5-9724是JIRA BUG编号);
如修改客户BUG则命名为:BUG2021081055809_zhangsan(BUG2021081055809是客户BUG流水号);
如两者都不是,单纯发现不规范代码,需要修改,则可以命名为:fixbug20210810_zhangsan,这种有一定日期+身份信息的分支。

请不要以源分支名做前缀(如standard-V8.1-develop_zhangsan,这是不允许的!),如果后续不及时清理会导致非常多的干扰分支,影响开发使用。

4)创建出私人分支之后,通过开发工具拉取自己创建的私人分支到本地。
如果你本地没有这个project,则通过开发工具将此工程import from git到本地,选择orgin/V5-9724_zhangsan(自己的私人分支名)完成私人分支的拉取
如果你本地已经有这个project,则通过先pull一次,再Switch to切换到Remote Tracking远程分支orgin/V5-9724_zhangsan(自己的私人分支名),通过checkout to local完成私人分支的拉取

5)修改+提交代码:随后修改私人分支代码,再将修改的代码通过commit->pull->push三步标准操作提交到Gitlab远程分支上。此时就完成了私人分支的代码提交操作。
【无图】
6)检查提交记录+创建合并请求:
回到云端Gitlab服务器,切换到自己的私人分支能够看到刚才自己提交的代码记录。
检查修改无误后,通过“创建合并请求”按钮进行代码合并申请。

7)(非常重要)填写合并信息:
①首先确认“从[私人分支]到[目标开发分支]”信息是否准确
②标题输入完整的BUG信息:JIRA BUG填写“BUG编号+BUG标题描述”;客户BUG填写“BUG流程的标题+BUG流水号”
③描述框内增加必要的描述,以方便代码Reviewer能很快理解你的修改思路。如果是临近发版,代码冻结期,还需要填写测试范围,以方便后续测试验证参考
④指派人:就是代码检查人,我们已经将合并请求与公司系统打通(后面内容介绍)。不选择指派人则默认流转到project工程负责人,如果自己选择了指派人,则会将合并请求流转给自己指定的指派人手里。
⑤合并选项(全部推荐勾选):“Delete source branch...”意思是合并完之后,此分支作废(自动删除),防止私人分支泛滥。“Squash commits ...”意思是当你私人分支提交了多条commit记录,通过此操作能将多条记录合并成仅一条记录,以保障提交记录的整洁。
⑥最后Submit合并请求就不赘述

自此,开发人员的代码合并操作全部完成。再次总结,整个合并过程包含[创建私人分支->私人分支修改代码->push代码到私人分支->合并请求到开发分支]这几个步骤。
======================================================================
代码合并消息分发微服务
当开发人员Submit合并请求之后,需要等待Maintainer进行代码检查和正式合并操作,而如果Maintainer没有登录Gitlab则无法知晓合并信息。
我们开发了一套Gitlab合并请求的监听和消息分发微服务,在监听到开发人员合并申请时,我们根据合并请求上面的信息找到对应工程代码合并人(Maintainer),自动触发一条表单合并流程,同时通过致信发送一条消息。
代码合并表单流程:

致信消息:

======================================================================
代码合并人Maintainer操作
1)代码合并人在协同中能收到合并请求的表单流程,“检查结果”和“协助检查人”二选一必填:你可以选择自己检查并合并代码;如果你觉得这个代码并不熟悉,需要更熟悉的开发经理检查,则可以选择协助检查人。

2)如果你需要别的检查人协助代码Review,直接指定检查人,提交流程即可,当前合并流程会流转到协助检查人。

3)如果你要自己检查代码,代码检查人通过表单上面的Merge URL直接打开Gitlab

4)在Gitlab合并代码页面,Maintainer会显示如下界面,主要关注如下1、2、3三个位置的操作按钮:
①点击“变更”按钮能看到修改的源代码
②如果代码无误,点击“合并”即可
③如果代码有误,点击底部的“Close”操作关闭请求(你也可以点击右上角“标记为草稿”旁边的箭头关闭本次提交请求)

注意,大文件默认是不会加载对比,Maintainer需要点击旁边的操作按钮,大文件通过“在Web IDE中编辑”操作进行源代码的检查。

5)以上Gitlab操作完成之后,回到协同表单页面填写检查结果,检查结果包含:通过、不通过、链接无效几个选项,如果代码有问题并且被Close就选择不通过,并且备注不通过原因。

6)关于测试审核:如果当前版本处于最后即将发版阶段,我们将进入限制性提交时期,要求每一行代码提交都需要经过测试检查。Maintainer需要协助填写本次代码的测试人,选择之后会自动流转给测试人验证。

异常处理情况
如果存在合并冲突,选择Close Merge,同时表单中选择“不通过”。

======================================================================
同行评审规范
代码进入冻结期,意味着项目趋向发版,此时每一行代码的提交都要经过严格审查。如果代码审查人不熟悉业务,漏掉了关键信息,就容易出现“改一送三BUG”的情况。
故代码冻结期将进行代码加强审查的机制:除了代码合并人审查外,再加上额外的同行评审。具体执行策略如下:

在Maintainer合并代码之后,如果当前工程有同行代码评审人员,则会再流转到同行代码评审人员侧,由这些同事做代码的二次检查。
同行评审职责:同行评审人员可以点开merge request,检查代码变更记录,利用自己的经验再判定一下开发提交的代码是否正确,填写问题明细表。
如果不正确,则在表单重复表上增加一行问题记录,随后直接处理协同即可,问题会流转给发起人↓↓↓
如果代码逻辑有严重问题,同行评审人员可以记录问题,并回退给代码合并人员,让合并人revert(还原)代码。

同行评审人员来源
那么我们工程很多,每个工程的同行评审人员都不同,这个数据来源哪里?
我们维护了一张“代码工程信息查询”的底表,可以在上面设置每个工程的负责人和同行代码评审人员,如果Master需要更新同行代码评审人员,可以联系QA更新底表数据。

======================================================================
CICD编译构建规范
代码提交之后,会进行代码编译构建,构建地址位于:https://build.seeyoncloud.com/#/task/sub

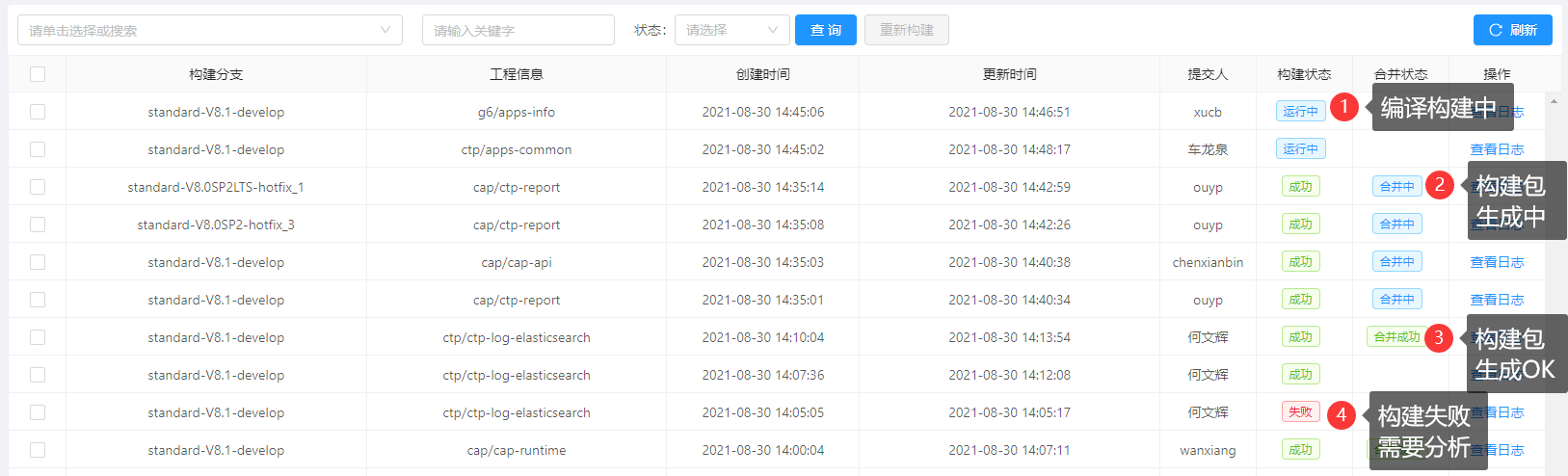
CICD构建队列可视化平台提供了:构建进度、分支查询、重新构建、查看失败原因、查看合并详情的能力,所有开发都要掌握其基本能力!
构建进度和状态
代码合并提交之后,CICD平台会每隔5分钟扫描一次提交记录,如果指定工程有提交记录,则自动将工程放入构建队列。

编译构建中:表示代码正在编译构建,编译构建将会执行编译->静态代码扫描->模拟启动等多步操作,任何操作失败都会通知
合并中:表示代码检查无误,即将合并到最终包
合并成功:表示构建包生存完成,可以从v5-resource拉取编译后的代码
失败:有多种情况,可能是代码编译失败、可能是静态代码扫描不通过、可能是启动不成功、可能是CICD自身问题,开发需要将数据移动到“失败”上面去看具体问题!
如果是后端代码有依赖(存在两个工程先后执行问题),需要等待前置工程“合并成功”之后,再手动点击“重新构建”来完成编译↓↓↓

如果确认自己代码没问题,可能是CICD自身问题,请直接联系CICD如下构建负责人跟进:周龙波、吴春林、田若岑。
Sonar静态代码修改
如果代码编写不规范,sonar静态代码扫描会提示不通过,此时开发需要连接到sonar查看具体问题,并修复问题代码,修复后重新合并代码、重新构建:


如果你的代码没有问题,被sonar检测错了,可以告知自己的Master,通过Master帐号登录,标记为“误判”↓↓↓

其它
删除分支,如果合并过程没有删除私人分支,你还可以通过如下操作进行删除:
