说明
======================================================================
CICD编译构建规范
代码提交之后,会进行代码编译构建,构建地址位于:https://build.seeyoncloud.com/#/task/sub

CICD构建队列可视化平台提供了:构建进度、分支查询、重新构建、查看失败原因、查看合并详情的能力,所有开发都要掌握其基本能力!
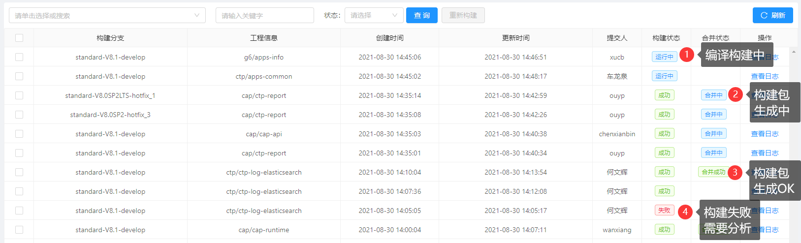
构建进度和状态
代码合并提交之后,CICD平台会每隔5分钟扫描一次提交记录,如果指定工程有提交记录,则自动将工程放入构建队列。

编译构建中:表示代码正在编译构建,编译构建将会执行编译->静态代码扫描->模拟启动等多步操作,任何操作失败都会通知
合并中:表示代码检查无误,即将合并到最终包
合并成功:表示构建包生存完成,可以从v5-resource拉取编译后的代码
失败:有多种情况,可能是代码编译失败、可能是静态代码扫描不通过、可能是启动不成功、可能是CICD自身问题,开发需要将数据移动到“失败”上面去看具体问题!
重新构建
如果是后端代码有依赖(存在两个工程先后执行问题),需要等待前置工程“合并成功”之后,再手动点击“重新构建”来完成编译↓↓↓

如果确认自己代码没问题,可能是CICD自身问题,请直接联系CICD如下构建负责人跟进:周龙波、吴春林、田若岑。
Sonar静态代码修改
如果代码编写不规范,sonar静态代码扫描会提示不通过,此时开发需要连接到sonar查看具体问题,并修复问题代码,修复后重新合并代码、重新构建:

只需要修改右侧“新代码”上面的问题,只需要修改右侧“新代码”上面的问题,只需要修改右侧“新代码”上面的问题,左侧历史问题可以不修改。

如果你的代码没有问题,被sonar检测错了,可以告知自己的Master,通过Master帐号登录,标记为“误判”↓↓↓
